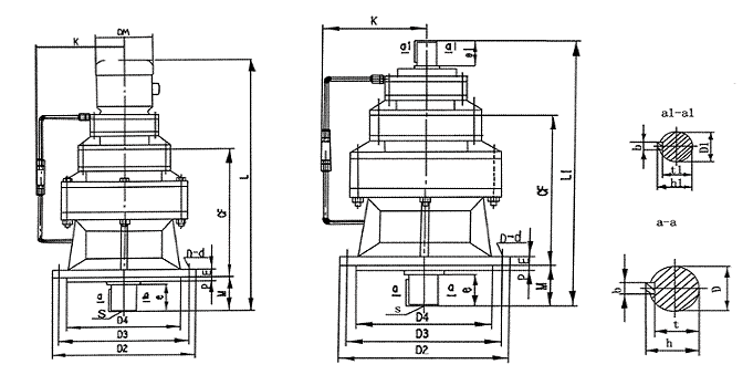
ZGXLE、ZGXLED型減速機(jī)外形及安裝尺寸


|
機(jī)座號 |
外形尺寸 |
安裝尺寸 |
輸出軸尺寸 |
輸入軸尺寸 |
|
D2 |
L1 |
CF |
D3 |
D4 |
P |
E |
M |
n-d |
D |
e |
b |
h |
s |
t |
D1 |
e1 |
b1 |
h1 |
t1 |
|
1010 |
120 |
166 |
98 |
102 |
80 |
3 |
8 |
27 |
6-10 |
14 |
20 |
5 |
16 |
— |
11 |
10 |
15 |
4 |
11.5 |
7.5 |
|
1210 |
180 |
242 |
164 |
160 |
130 |
3 |
12 |
42 |
4-12 |
25 |
34 |
8 |
28 |
M8 |
21 |
10 |
15 |
4 |
11.5 |
7.5 |
|
1412 |
260 |
374 |
239 |
230 |
200 |
4 |
15 |
79 |
6-12 |
45 |
63 |
14 |
48.5 |
M10 |
39.5 |
15 |
25 |
5 |
17 |
1.2 |
|
1513 |
340 |
473 |
307 |
310 |
270 |
4 |
20 |
93 |
6-12 |
55 |
79 |
16 |
59 |
M10 |
49 |
18 |
35 |
6 |
20.5 |
14.5 |
|
1613 |
400 |
513 |
350 |
360 |
316 |
5 |
22 |
92 |
8-16 |
65 |
80 |
18 |
69 |
M12 |
58 |
18 |
35 |
6 |
20.5 |
14.5 |
|
1714 |
430 |
578 |
388 |
390 |
345 |
5 |
22 |
117 |
8-18 |
80 |
98 |
22 |
85 |
M12 |
71 |
22 |
40 |
6 |
24.5 |
18.5 |
|
1814 |
490 |
644 |
448 |
450 |
400 |
6 |
30 |
112 |
12-18 |
90 |
110 |
25 |
95 |
M16 |
81 |
22 |
40 |
6 |
24.5 |
18.5 |
|
1815 |
490 |
692 |
475 |
450 |
400 |
6 |
30 |
112 |
12-18 |
90 |
110 |
25 |
95 |
M16 |
81 |
30 |
45 |
8 |
33 |
26 |
|
1915 |
580 |
790 |
518 |
520 |
455 |
8 |
35 |
170 |
12-22 |
100 |
129 |
28 |
106 |
M20 |
90 |
30 |
45 |
8 |
33 |
26 |
|
10016 |
650 |
884 |
586 |
590 |
520 |
10 |
40 |
174 |
12-22 |
110 |
140 |
28 |
116 |
M24 |
100 |
35 |
54 |
10 |
38 |
30 |
|
11017 |
880 |
1106 |
758 |
800 |
680 |
10 |
45 |
210 |
12-38 |
130 |
184 |
32 |
137 |
M30 |
119 |
40 |
65 |
12 |
43 |
35 |
|
12018 |
1160 |
1503 |
995 |
1020 |
900 |
10 |
60 |
370 |
8-39 |
180 |
320 |
45 |
190 |
M42 |
165 |
45 |
70 |
14 |
48.5 |
39.5 |